Một công nghệ cốt lõi trên ô tô hiện đại đã được cha đẻ hãng xe Porsche hình dung từ rất sớm.
Khi nhắc đến Ferdinand Porsche (1875 - 1951), giới yêu xe thường nghĩ ngay đến những mẫu xe thể thao mang tính biểu tượng hay nền móng kỹ thuật của ngành công nghiệp ô tô hiện đại.
Tuy nhiên, bên cạnh những thành tựu nổi tiếng, vị kỹ sư người Áo còn để lại một phát minh ít được biết đến, nhưng lại có ảnh hưởng sâu rộng đến cách ô tô vận hành ngày nay: kiểm soát lực kéo.

Ngay những năm đầu phát triển xe đua hiệu suất cao, Ferdinand Porsche sớm nhận ra nghịch lý: công suất động cơ tăng nhanh hơn rất nhiều so với khả năng chịu đựng của khung gầm và lốp xe. Những mẫu xe do ông thiết kế cho Auto Union được trang bị động cơ V16 siêu nạp, sở hữu sức mạnh vượt xa tiêu chuẩn đương thời.
Sức mạnh ấy mang lại tốc độ, nhưng cũng kéo theo hệ quả là bánh xe dễ mất độ bám, đặc biệt khi tăng tốc mạnh. Đối với Porsche, đây không chỉ là hạn chế của xe đua, mà là bài toán kỹ thuật cần lời giải căn cơ.
Một trong những giải pháp đầu tiên là vi sai chống trượt, được Porsche nghiên cứu và đăng ký sáng chế từ đầu thập niên 1930. Công nghệ này giúp phân bổ lực kéo hợp lý hơn giữa hai bánh, hạn chế hiện tượng quay trơn và nhanh chóng chứng minh hiệu quả trong thực tế.
Tư duy kỹ thuật của Porsche không dừng lại ở việc cải tiến cơ khí. Ông tiếp tục đặt câu hỏi "liệu có thể chủ động can thiệp vào sức mạnh động cơ khi bánh xe bắt đầu trượt?".
Câu trả lời là hệ thống kiểm soát lực kéo, khái niệm mà nhiều thập kỷ sau mới trở nên quen thuộc với ô tô thương mại.


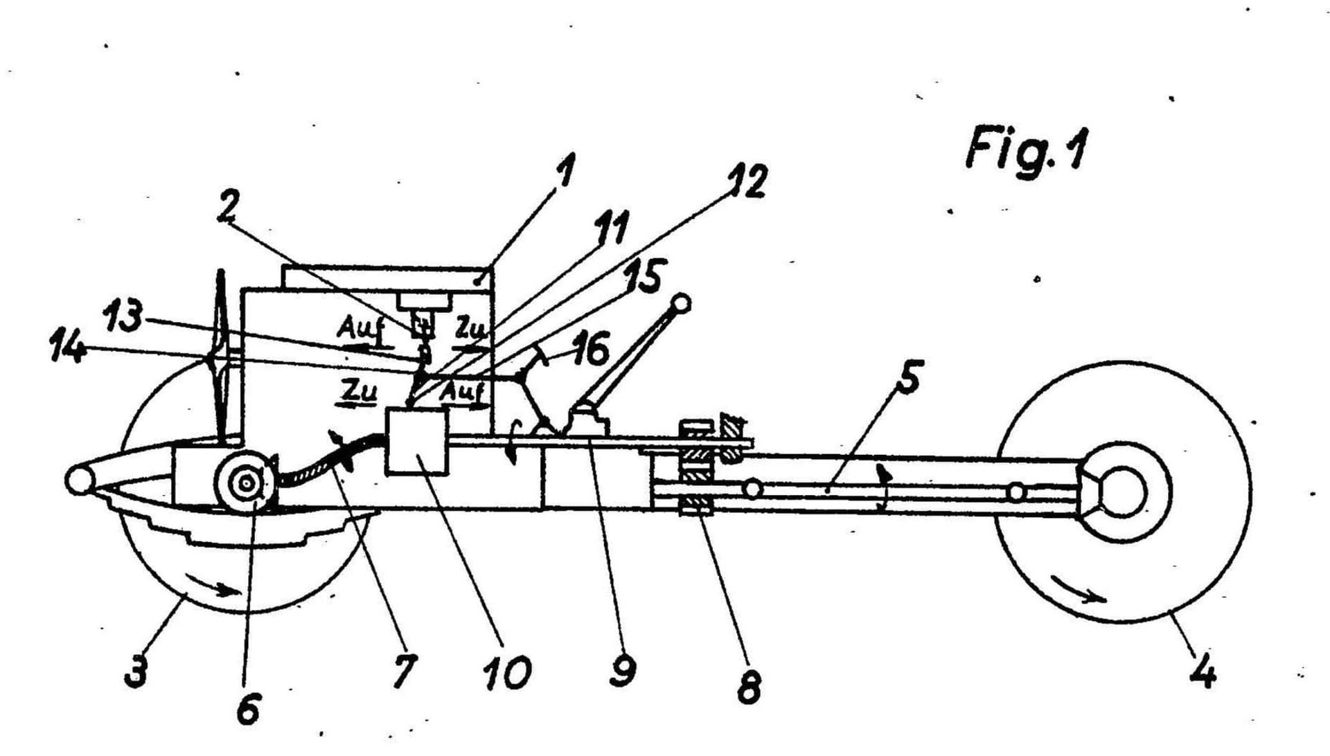
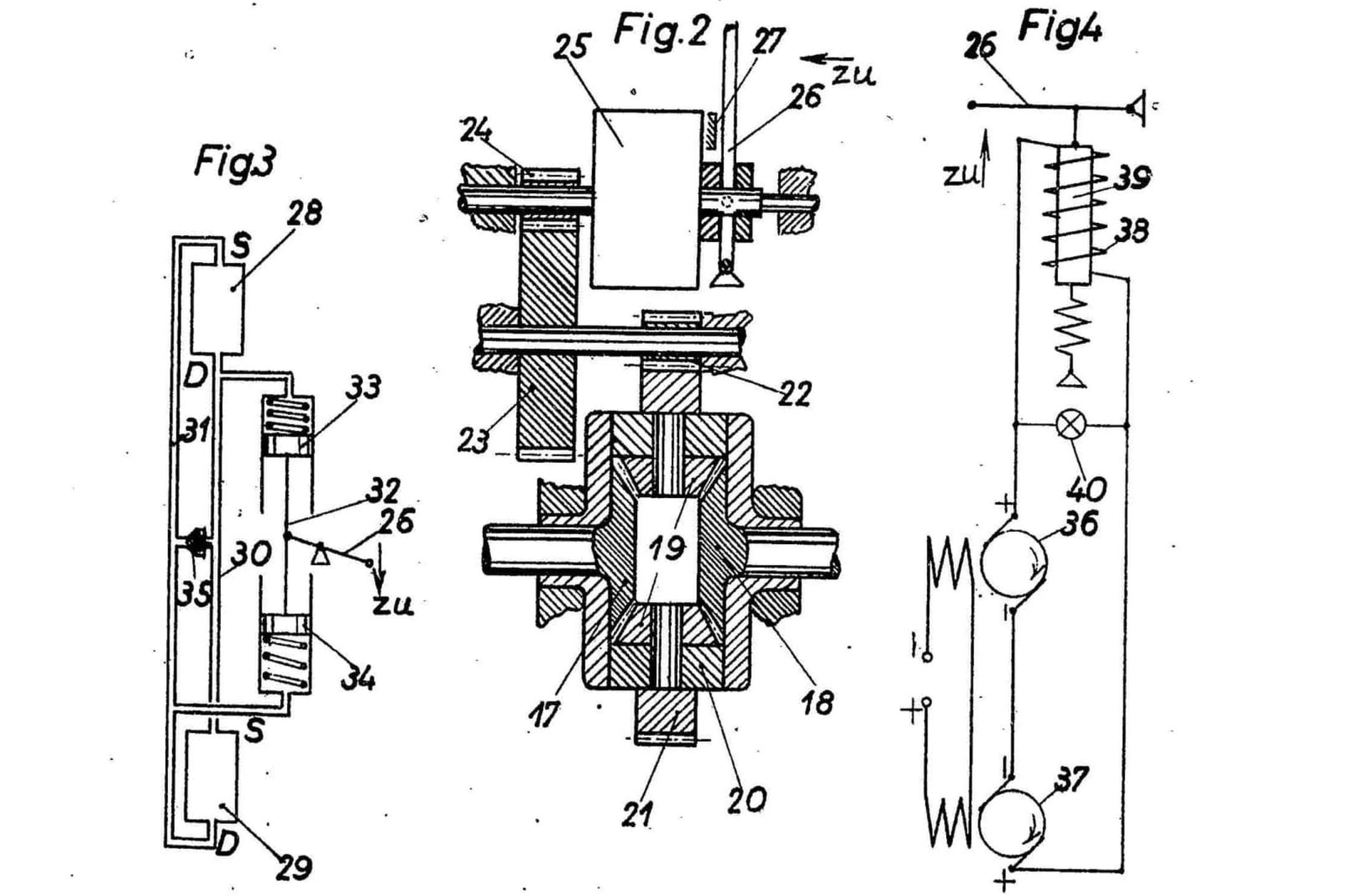
Bằng sáng chế hệ thống kiểm soát lực kéo của Porsche.
Hệ thống kiểm soát lực kéo mà Ferdinand Porsche đề xuất dựa trên nguyên lý so sánh tốc độ quay giữa bánh dẫn động và bánh không dẫn động. Khi bánh chủ động quay nhanh hơn, hệ thống sẽ tự động giảm mô-men xoắn động cơ để khôi phục độ bám.
Điều đặc biệt nằm ở chỗ, toàn bộ ý tưởng này được xây dựng trong bối cảnh chưa có cảm biến điện tử hay máy tính điều khiển. Các phương án mà Porsche đưa ra đều mang tính cơ khí và điện, nhưng về bản chất, không khác nhiều so với nguyên lý đang được áp dụng trên ô tô hiện đại.
Thực tế cho thấy, phải đến nhiều thập kỷ sau, khi công nghệ điều khiển điện tử phát triển, kiểm soát lực kéo mới được trang bị rộng rãi trên xe thương mại.
Ngày nay, kiểm soát lực kéo là trang bị tiêu chuẩn trên hầu hết các mẫu xe, góp phần nâng cao an toàn và khả năng vận hành. Trên xe hybrid và xe điện, công nghệ này còn đạt mức độ chính xác cao hơn nhờ khả năng kiểm soát mô-men xoắn trực tiếp từ mô-tơ.
Nhìn lại, phát minh của Ferdinand Porsche không chỉ cho thấy tầm nhìn đi trước thời đại, mà còn phản ánh rõ nét phong cách của ông: luôn tìm cách giải quyết vấn đề bằng kỹ thuật, thay vì thỏa hiệp với giới hạn hiện hữu.